|  | Three strorage basins under the Ministry of Finance Lanciani's Tavole VI.1a | ||||
|  | Botte di Termini, the major storage basin near the Baths of Diocletianus Cattalini pag 52 | ||||
|  | Storage and/or settling basin, the trapezoidal basin of Fabretti close to the Villa Vignacce, Romavecchia Fabretti/Evans 2002 pag 150 | ||||
|  | 
 | ||||
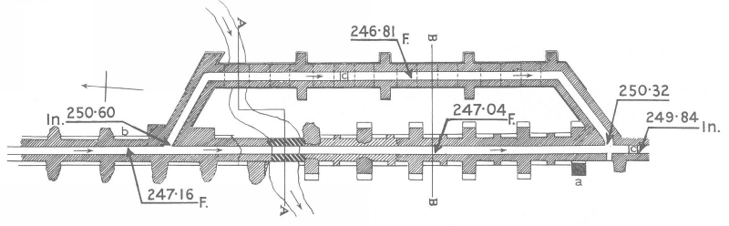
|  | Settling basin at the start of the Aqua Alexandrina Fabretti/Evans2002 pag 26 | ||||
|  | 
 | ||||
|  | Settling basin, Fabretti's double basin near Villa Bertone who thought erroneously that this structure were the combined settling basins of the Aqua Claudia and the Anio Novus. Fabretti/Evans 2002 pag 152 | ||||
|  | The well known settling basin in a side-branch of the Virgo aqueduct Fabretti/Evans 2002 pag 125 | ||||
|  | "Six of these waters are received in covered settling-tanks located this side of the seventh milestone on the Latin Road" according to Frontinus 19.1 in a translation by R.H. Rodgers 2003 inwhich piscina has been translated as settling tanks - I prefer the word basins here.  The six were the Anio Vetus, Aqua Marcia, Tepula, Julia, Claudia and Anio Novus. Only the basin of the Anio Novus has been attested, near Villa Bertone. Rodgers 2004 pag 349 | ||||
|  | The only known remains of the (second order) distribution basin(s) of the Aqua Claudia and the Anio Novus, as drawn by Piranesi as 'Castello dell'Acque e Anione Nuovo' Piranesi Antichita I tav 38 fig I; Lanciani Tavole II.5a | ||||
|  | 
 | ||||
|  | Splitting for the Hadrian's loop by means of a plug (tappo) and a penstock (sluice gate; paratoia), without any basin ! Ashby pag 197; Roncaioli Lamberti 1986 pag 92 | ||||
|  | Splitting basin in the Aqua Marcia at the start of the Rivus Herculaneus Piranesi Antichita I tav 38 fig 2 | ||||
|  | Storage and settling basin in the Anio Novus with annex three splitting / junction basins at a place called Grotte Sconce; cross-links to the Aqua Claudia, Aqua Marcia and Anio Vetus Ashby pag 278 | ||||
|  | Splitting in the Aqua Claudia near Osteriola without any basin or other control mechanism ?? Ashby pag 268 | ||||
|  | Splitting and joint without basins (??) on both sides of  the aqueduct double bridge of the Anio Novus in the Valle Barberini Ashby pag 270 | ||||
| Drawing not available | Junction basin also acting as settling basin near Gericomo where the Tivoli-loop and the shortcut via de Valle Barberini of the Anio Novus met |